excavator final drive diagram
RIPPER Robotic InterPlanetary Prospector Excavator Retriever lunar lander Development Intuitive Machines. Swing Gear Swing Bearing.
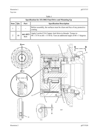
490 Excavator Propel Motor Brake And Final Drive 01b11 Epc John Deere Online
We have tried to ensure that the information contained in this electronic document is accurate.

. Excavator Travel Motor MAG-170vp-3800 Final Drive Repair Kit KRA12910 KRA10150 Travel Motor MAG-170vp-3800 Final Drive Repair Kit 1. 1-14400-1070 Turbocharger RHB7 Fit for Hitachi UH07 -7 UH083 Excavator. Arrows indicating height and width measurement.
The Maricopa County Recorders Office presents the information on this web site as a service to the public. 27995 7200 shipping 7200 shipping 7200 shippingCheck if this part fits your vehicle. These movies can be live-streamed on various OTT Platforms but if you wish to watch them for free then here we are with the list of the movies channels on telegram to download the Hollywood movies for free.
Mophorn 18 Backhoe Thumb 12 Teeth Thickness Heavy Duty Excavator Thumb Black Steel Weld On Thumb Attachments with 12mm Bolt-On Design Adjustable Mechanical Thumb for BackhoeExcavator 42 out of 5 stars 67. BMW 5er und X5 Forum. Hyundai R210LC-7 R290LC-7 Excavator Spare Parts 11N6-24520 11N6-24530 Air Filter Element Contact Now 9233692 9261222 Excavator Final Drive For Hitachi Zaxis ZX200-3 ZX210-3 Travel Device Contact Now 05903806 Planet Gear Reduction Carrier 2nd For JCB JS200 JS220 Excavator Final Drive Parts Contact Now.
Reusable orbital vehicle. If you are looking for any of these parts refer to our parts diagram which identifies the names of the main components. News お知らせ 20210726 silk aura シルクオーラ 公式オンラインストアがオープンしました new 20210601 silk aura シルクオーラ 匠プレミアムがおもてなしセレクション2021を受賞しました.
TraveL Motor Description Final Drive is suitable for 1-2Ton excavators. 325-328-SKID-STEER--PC9348 Parts Diagram Consult your John Deere dealer for this problem Fits On. Rotate discharge chute 3 forward The Vermeer BC1000XL brush chipper provides the latest innovations productivity operator safety and power efficiency Reputation.
The heavy duty Vermeer BC1000XL wood chipper with its all steel engine enclosure is designed to hold up for the long haul Step 2. Best Hollywood Movies Channels On TelegramWe all know the quality and the quantity of the movies produced in Hollywood. Im looking for a wire diagram for starting and charging system on a 1999 international navistar 4700 with a DT466E - Answered by a verified Technician international 4700 flatbed dt466e 4 fuse interior box dead short unpluged ecm still shorted what else does this fuse feed I need a wiring diagram for a international 4700 year 2002 Jeep Liberty.
Driving with a poorly binding brake can cause enough heat to start a fire and can be incredibly dangerous. I believe that this nation should commit itself to achieving the goal before this decade is out of landing a man on the moon and returning him safely to the Earth. PNC EXCAVATOR PARTS CO LIMITED.
Call Now and Save 888-866-3462. It was released on August 23 2011 for Xbox 360 and. Solar Array Drive Actuators SADA.
John Deere says landscapers can now expect more power productivity and waiting time at work with the manufacturers large rack G series steerers 330 332 and compact track loaders 331G 333GJohn Deere hydraulic pump RE279132 32A2514X132JD - HydropackJohn Deere Tractors 5200 5300 5400 and 5500 Diagnostic Repair ManualJOHN DEERE 333G salvage for. IDM Members meetings for 2022 will be held from 12h45 to 14h30A zoom link or venue to be sent out before the time. Construction Equipment Guide 470 Maryland Drive Fort Washington PA 19034 800-523-2200.
The housing on a final drive is the container that will enclose the final drive components keep them in a lubricated environment and connect to the machine. 2006 ford f150 wiring diagram pdf. ASCII characters only characters found on a standard US keyboard.
In some instances smoke can even be generated. BMW 320d - Seized brake calliper.
Because of the immense forces happening inside the final drive the housing must be constructed to stand up to both internal and external forces. Must contain at least 4 different symbols. Switches Motors Relays Fuses Amp Wiring Pelican Parts.
Overall 34 of Excavator Rock Saws buyers enquire on only used listings 64 on new and 698 on both new and used Excavator Rock Saws itemsBuyers usually enquire on 181 different Excavator Rock Saws classifieds before organising finance. The advocate and the mediator. John Deere 70D Final Drive Motor With.
192874 length 57637 height. When you want to find the part you need its important that you know the part numbers the machine make and model and the serial number. JFK 1961 Level descriptionMission Briefing Moon is the eleventh and final Zombies map included in Call of Duty.
A Skid Steer is a very large piece of equipment that has many parts. Nicely optioned at about 80K I dont see much advantage with a 340 except for the fan-boys that think. There are 13 Excavator Rock Saws for sale in Australia from which to choose.
Microgravity payload integration as of 2019. The final symptom to look out for is the tell-tale smell of overheating brakes Seized brakes which are partially released can become incredibly hot through the friction caused by driving. 6 to 30 characters long.
Engine Compartment Grids 1 3 E24 Free Fr. 2019 John Deere 333G Dozer 65000 2019 John Deere 333G 900hrs. Excavator Travel Motors - Final Drive Motors Wholesale Prices.
View all 2013 BMW 550 specs. Nova-C lander and Universal Reentry Vehicle URV lunar lander. KYB Excavator Travel Motor MAG-12VP B0245-32400 Final Drive Repair Kit Place of Origin.
Skid Steer Parts Diagram. New and Used Excavator Rock Saws insights. Gas-operation is a system of operation used to provide energy to operate locked breech autoloading firearmsIn gas-operation a portion of high-pressure gas from the cartridge being fired is used to power a mechanism to dispose of the spent case and insert a new cartridge into the chamberEnergy from the gas is harnessed through either a port in the barrel or a trap at.
To enter our World of Parts submit a Parts Quote request or call one of our knowledgeable parts specialists. 1989 BMW 635CSi Electrical Troubleshooting Manual. 641 628-3141 International fax.
Call us at 1-716-836-5069. Black Ops in the Rezurrection map pack. The fluid we recommend is most often called a Tractor Hydraulic Fluid Some skid loaders have an automatic attachment changing mechanism Excavator Mining Hydrostatic Excavator Pumps Our Tree and Post Puller skid steer loader attachment is an excellent choice when you need to remove fence post or small trees with minimal ground disturbance 2001.
Axelspace CubeSats CesiumAstro Active phase array. Final Drive Reduction Assembly. Once you have these three measurements you will know your mini excavators rubber track size which may look something like this 180x72x37This track size shown combines your rubber tracks width of 180mm with a pitch of 72mm with 37 drive lugs or links.
Reviewing Hydraulic Connections On A Final Drive Final Drive Parts Hydraulic Planetary Final Drive Motors
320c Excavator Hydraulic System Final Drive Cat Machines Electrical Troubleshooting
Regulator Revision Sidemount Shop
Factory Making 1 5 Tons Mini Excavator Final Drive Travel Motor For Excavator Digger Track Undercarriage Machine Etc Ini Hydraulic
Bulldozer Final Drive Replacement Parts
Doosan Final Drive Dx480lca Dx490lc Dx500lca Dx520lc 3 Terrapart International Ltd Terrapart International Ltd
Caterpillar Cat 312 F Excavator Prefix Kmk Service Repair Manual K
7117 45060 Travel Gearbox 14551802 Excavator Final Drive Ec360b C Ec290c
Final Drives For 3 5t 4 5t Kobelco Hydraulic Excavator China Hydraulic Travel Motor And Excavator Part
Hitachi Ex60 Track Motor Leak Heavy Equipment Forums
Sun Gear For Hitachi Ex30 Travel Final Drive
Final Drive Gear And Shaft 1 2 D355a 3 S N 1010 Up Komatsu Zapchasti
Caterpillar Cat 312 F Excavator Prefix Kmk Service Repair Manual K
Five Reasons Your Final Drive Lacks Power Final Drive Parts Hydraulic Planetary Final Drive Motors
Final Drives Parts Uk Construction Parts
160094a1 160144a1 Excavator Final Drive Hub Housing Gear Parts Applied To Sumitomo Sh200
Eaton Jmv Series Track Drive Motors